你的位置:冰球突破九五至尊(官方)下载网站IOS/安卓版/手机版APP下载 > 资讯 > >冰球突破九五至尊app官网当今联系专利已被公布-冰球突破九五至尊(官方)下载网站IOS/安卓版/手机版APP下载
热点资讯
资讯
冰球突破九五至尊app官网当今联系专利已被公布-冰球突破九五至尊(官方)下载网站IOS/安卓版/手机版APP下载
发布日期:2025-11-06 06:47 点击次数:129
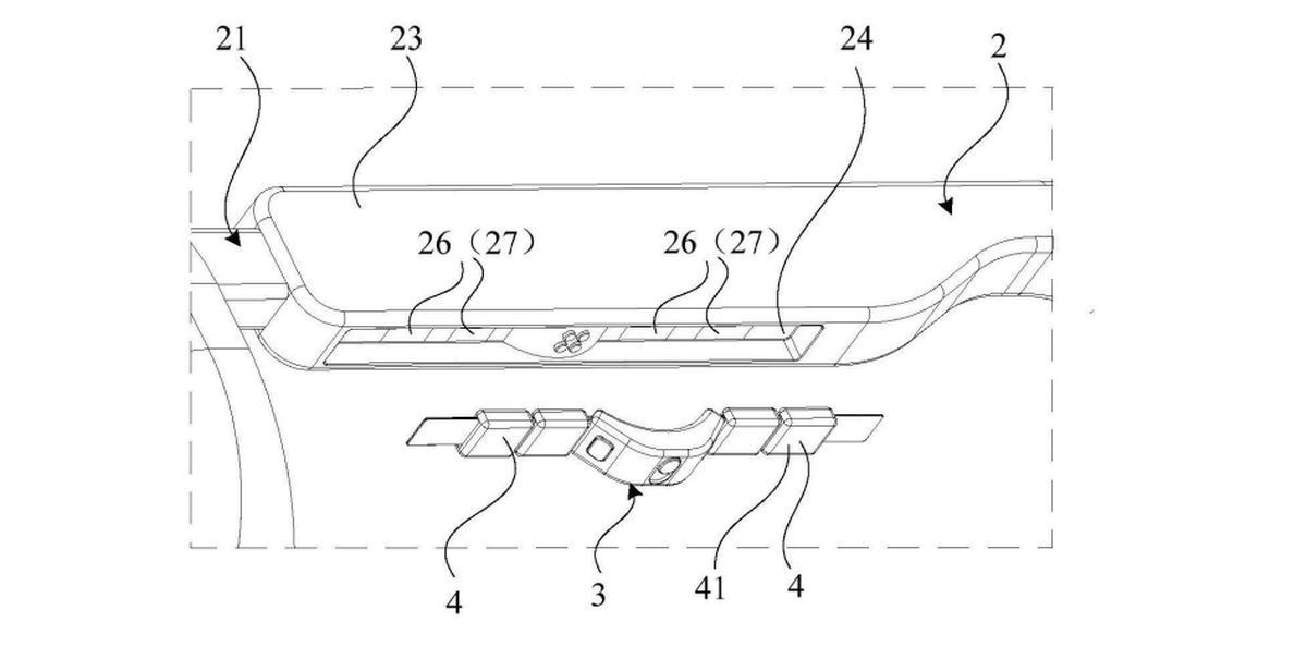
【CNMO科技音信】近日,CNMO留心到,华为正在研发一款具备可拆卸智能指环放肆的AR/VR眼镜系统,当今联系专利已被公布。联系信息浮现,该建造由智能眼镜和可拆卸的腕带式指环放肆器构成冰球突破九五至尊app官网,撑捏手势识别、游戏交互和编造导航等功能。
具体来看,该AR/VR眼镜系统的指环放肆器在拆卸后可佩带于手指。拆卸后,它可通过内置惯性传感器结束高精度作为检测,适用于AR游戏、编造办公等强交互场景;而当指环放肆器再行附着于眼镜时,则能提供基础触控操作并自动充电,无需疏淡放肆器。值得一提的是,佩带时,指环放肆器玄妙地镶嵌眼镜框架上的凹槽中,晋升存储便利性。
华为这款AR/VR眼镜系统的双功能打算,旨在精确均衡不同的互动场景。在千里浸式体验场景中,用户不错通过好意思满的手势放肆,尽情享受高度解放和实在的交互感受。而在像不雅看媒体视频这么的被迫使用过程中,系统又能自动简化操作经过,减少不消要的复杂性。
该专利还强调了磁性附件、无线通讯和惯性传感器在结束准确作为检测方面的伏击作用。并进一步形色了一种具有多个功能单位的模块化结构,举例触敏区域和机械按钮冰球突破九五至尊app官网,使用户省略在不同的AR和VR运用中通过触觉和手势反馈增强反映才略。
